中国船员疑被绑至缅甸,遭勒索10万!
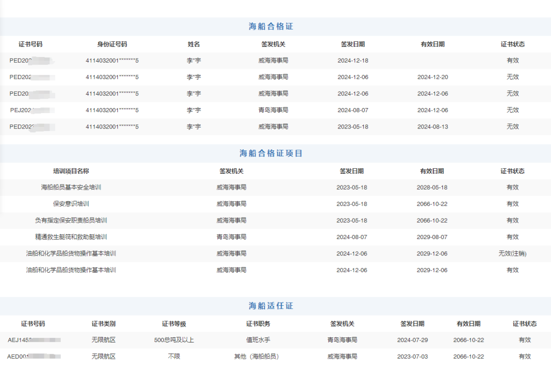
近日,演员王星在泰国失联一事引发关注。 泰国总理佩通坦今天(7日)在曼谷总理府接受媒体采访时说,已经确定找到失联的中国演员“星星”(王星)。目前,王星正在移交给泰方,泰国警方已经在泰缅边境达府准备接收星星。据悉,王星此前被缅甸边防部队(BGF)拘留,缅甸方与泰国当局协调后,7日中午过后就送回泰国。 泰国媒体7日公开的王星近照中显示,王星被剃成了光头,眼神飘忽,整个人看上去十分憔悴。 王星获救无疑是一个极大的好消息,但遗憾的是,近日有媒体报道,一名来自河南商丘的船员被绑架至缅甸,其生死状况至今不明。 1月6日,距离小宇(化名)最后一次与他的家人联系已经过去了十天。来自河南商丘的小宇姐姐——李女士再次前往当地派出所,积极配合警方进行深入调查。 据李女士所述,当地警方经过调查,并向郑州新郑机场核实后确认,2024年12月26日晚,小宇从郑州新郑机场搭乘泰国皇雀航空DD3137航班前往泰国曼谷,并于次日凌晨2点左右抵达曼谷廊曼机场。然而,自那之后,小宇失联,手机关机,微信也无人回复,至今仍未能与他取得任何联系。 陌生男子向李女士发来疑似小宇遭绑架的图片。受访者供图 李女士介绍,她的弟弟小宇今年23岁,是一名海船水手,这一次离家是因为有出海任务。记者根据李女士提供的身份信息,在中国海事局官网上查询到了小宇的相关证件信息。 小宇的相关证件信息。图源:中国海事局官网 李女士回忆道,小宇往常都是从山东青岛启航,一出海便是大半年,期间因远洋作业可能会出境,所以她起初并未过多询问。她解释说:“弟弟之前出海有时信号不好,电话可能打不通,但是微信一直都会保持联系,不像这次反常。”李女士还提到,这次小宇出发得很匆忙,没有详细说明目的地,只说等老板订好票就走,甚至都没怎么带行李,只带了一套换洗衣物和船上的工作服。 小宇落地泰国后,李女士还特意询问他这次出发为何没有带上厚衣服,小宇语音回复说:“穿不住(到),这地方热。” 这条语音也成了小宇发给李女士的最后一条消息,之后就一直失联。 李女士与小宇的聊天记录。受访者供图 2024年12月30日晚,一名陌生男子主动加微信联系李女士,向她发来小宇的照片和一段小宇被殴打的视频,“对方说我弟已经被绑到了缅甸,要我们支付10万元赎人,不然一辈子都别想见到我弟弟了。”李女士这才意识到事情的严重性,当天夜里就赶到派出所报警。 据李女士提供的聊天记录显示,该陌生男子留言道:“现在在缅甸”“啥时候打钱啥时候回国”“再不回复就把他卖给其他园区”。李女士表示,这样的威胁勒索一直持续了三天,自己要求视频通话均被拒绝,后来就被对方删了好友。 陌生男子与李女士的聊天记录。受访者供图 由于担心弟弟遭遇不测,1月6日,李女士主动添加该名陌生男子。该男子看到李女士在网上发布的求助信息后,再次发出威胁,“对方要求我删除发布的内容,扬言如果不删,后果自负。”当天下午,李女士再次来到属地派出所,配合警方将以上情况作了详细笔录。李女士说,警方表示还需要调查,暂未立案。 目前,事件仍在进一步调查中,李女士希望警方能够尽快立案,调查弟弟的具体行踪。 除了王星和小宇,另一位男演员徐大久公开表示也遭遇了类似事件。1月6日,徐大久在王星失联相关话题的微博的评论区中表示,他刚从人贩子手中跑出来,应该是同一个剧组。随后,徐大久发布视频称:“剧组来泰国拍摄都是假的,千万不要来,全是在缅甸,会把你拉过去。为什么定曼谷国际机场?是想告诉你是安全的,但是你上了车以后就不安全了。他是给你订了返程机票,但也可以退票,退票是不扣任何费用的,因为给你买的是最贵的机票。这里面有个猫腻,最贵的机票是免费退的。” 近期一系列中国公民在缅甸失踪的事件再度引发了国内关于东南亚电信诈骗的讨论。电信网络诈骗犯罪集团寄生东南亚地区,对中国国内实施电诈犯罪,严重危害中国公民生命财产安全。 我国从2023年7月部署开展打击缅北涉我电信网络诈骗犯罪专项工作,已累计抓获5.3万余名中国籍涉诈犯罪嫌疑人,临近我边境的缅北地区规模化电诈园区全部被铲除。公安部有关负责人表示将进一步加大警务执法合作力度,坚决铲除涉我电信网络诈骗犯罪“毒瘤”。 对船员来说,一些不良甚至骗子中介公司利用船员存在信息差、急着上船的心理,打着上述幌子诱骗船员,收取高额费用,导致船员们耗费了时间金钱,最后竹篮打水一场空。一定要增强防范意识,杜绝诈骗陷阱: 1. 在选择船员服务机构时一定要选择资质齐全的正规机构。 2. 根据《中华人民共和国船员条例》的规定,正规船员服务机构应当取得《劳务派遣经营许可证》并到海事管理机构进行备案。 3. 船员可通过正规渠道如中华人民共和国海事局官方网站在线查询专栏或通过微信公众号“中国海事”的服务园地-综合查询、“幸福船员”的“微信息-机构信息”、“中国船员”的“信息查询”栏目查询正规的海船船员服务机构。也可以向各地海事机构咨询。 4. 掌握基本知识,比如办理船员证书海事局不收取任何业务办理费用;不具备相关资质的中介违规办理船员的开封、换证一经查处将对船员进行行政处罚并记录船员违法计分和不良信誉记录; 5. 平时多了解船员工资行情,对自己的价值和定位要有清醒的认识,不要轻信无资质的中介,警惕低门槛“高薪工作”。多掌握行业相关信息,避免信息差而让不良中介有机可乘。 6. 在决定与一家中介合作之前多掌握一些信息,不要轻易相信中介的宣传。了解清楚如何收取费用、工资发放时间、劳务合同签署等,做到心中有数。 7. 要记得签订劳动合同,一旦发生人身伤害事故,可以申报工伤,得到最佳的维权效果,拖欠工资也是冤有头债有主,是对船员自身权益的合法保障;签订合同时,要确定对方是不是中介所宣传的公司,仔细研究合同条款,谨防高薪骗局。 8. 多问多打听,可以向身边的船员咨询,从侧面了解中介的真实情况。多留个心眼,尽量避免与不良中介公司合作。尽可能多的从各个渠道去核实中介公司以及船舶、航线等的实际状况。 海事服务网CNSS根据潮新闻、泉州海事等内容综合整编




