重磅!恒力集团成立大连海运有限公司
3月17日,恒力集团与大连签订三项合作协议,成立大连海运有限公司,在大连长兴岛投资建设船舶动力系统产业园、聚酯新材料产业园。省委书记许昆林见证签约。省委副书记、大连市委书记熊茂平,恒力集团董事长、总裁陈建华,恒力集团副董事长、恒力石化董事长范红卫及外企投资方代表出席签约仪式。

大连市政府与恒力集团、外企投资方签订合作框架协议,由恒力集团、省市国资及新加坡企业等共同投资,组建大连海运有限公司。
大连曾拥有油品运输船队、渤海湾专业化客滚运输船队、远洋渔业捕捞船队与化学品运输船队,后受企业经营战略调整等因素影响,运力规模逐年下降。省委、省政府着眼建设海洋强省、打造开放合作高地,支持推动大连用好用足区位优势和资源禀赋,挺进深蓝、向海图强,谋划吸引民营资本和外资参与船队建设,完善现代航运服务体系,加快推进大连东北亚国际航运中心、国际物流中心建设,持续提升大连核心功能和辐射带动能力。
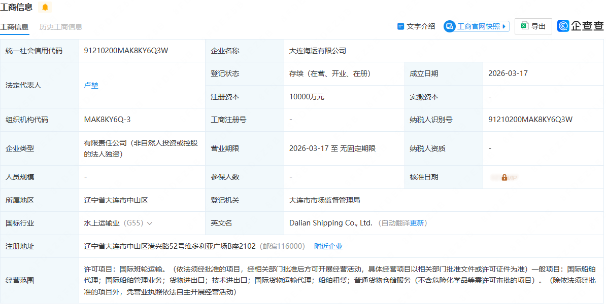
大连海运有限公司当日已完成注册登记。企查查页面显示,大连海运有限公司成立于2026年3月17日,法定代表人卢堃,公司位于辽宁省大连市中山区,由苏州中坤投资有限公司100%持股。


公开信息显示,苏州中坤投资有限公司成立于2014年,是恒力集团的关联企业,实际控制人为恒力集团的创始人陈建华、范红卫夫妇。

公司将重点聚焦航运船队建设、港口投资建设与运营等核心业务,通过新建船舶、租赁船舶等多种方式,快速提升船队运力规模,打造以散货为主的多船型、内外贸一体化经营的专业化船队,构建覆盖全球的航线网络,为东北及蒙东地区提供高效便捷的港口航运服务。
同时,公司将与大连市在港口资源开发、专业化码头运营等领域开展深度合作,实现资源整合、优势互补,推进东北海陆大通道建设,全面提升我省港口群的协同优势和整体竞争力。大连市将以此为契机,推动航运港口物流一体化、通道枢纽网络一体化,优化服务、提高效率、降低成本,促进港产城高质量融合发展,大力发展枢纽经济和海洋经济,不断提升对外开放层次和水平。
恒力集团扎根辽宁16年来,已在大连长兴岛累计投资3600亿元,形成绿色石化与高端船舶和海工装备制造协同发展的产业格局,创造近10万个就业岗位。此次恒力集团落户大连长兴岛的两个产业园项目总投资约165亿元,全部达产后预计新增年产值350亿元。
其中,恒力船舶动力系统产业园项目重点聚焦船用发动机等核心配套领域,将有效填补大连乃至我省船舶工业核心动力系统的短板,推动船舶海工装备产业迈向全产业链自主可控;恒力聚酯新材料产业园项目依托长兴岛石化产业基地的原料供给优势,向下游延伸布局高端聚酯等新材料产业链,推动石化产业由基础化工向高端精细化工转型升级。这两大项目建成投产后,将进一步提升我省船舶海工关键核心部件配套能力和高端新材料自主创新供给能力,对于维护国家产业安全,加快发展新质生产力,构建具有辽宁特色优势的现代化产业体系具有重要意义。
省及大连市领导姜有为、王利波、李强,恒力集团总经理、恒力重工集团董事长安锦香参加签约仪式。