困扰了三任二管轮一年的船舶“绝症”,我们靠这套方法成功根治
阿尔法拉伐 SA851 燃油分油机 | TI64进油阶段跑油 | 轮机实战案例
先分清:S型与P型分油机的区别
很多轮机兄弟都熟悉,阿尔法拉伐P型与S型分油机结构差异很大。
P型依靠比重环、配水盘、弹簧结构,密封方式比较传统;
而S型(SA851属于S系列) 属于新一代设计:
- 取消比重环;
- 增加 paring tube 排油机构;
- 排渣盘依靠工作水压产生弹性变形实现密封。
这一点,正是我们后来破局的关键,也是我们之前整整一年都在南辕北辙的根源。
一年悬案:三任二管轮,困在“生料带”的死循环里
我上船时,这台阿尔法拉伐SA851燃油分油机早已是全船公认的“绝症”。故障现象像时钟一样精准,每次排渣结束,进入 TI64 进油阶段,必定跑油,伴随电机电流骤增,出口油压直接归零。
面对这个顽疾,前两任二管轮留下的唯一“传承”,就是一卷生料带。这成了我们那段时间最无奈的“维修标准”。
第一任二管轮:首创“缠生料带”应急,拆装七八次,凭运气蒙对一次算一次。
第二任二管轮:我刚上船时,跟着他一遍遍重复这个动作,拆装二三十次是家常便饭,蒙对了能安稳跑三四个月。
第三任刚提职:我和他搭档,在五六十度的分油机间里,拆了装、装了拆,直到深夜,换来的依旧是TI64阶段的跑油报警。
我们把说明书翻烂,把能查的数据全查了:立轴跳动、水路压力、SV15/SV16电磁阀动作、油路畅通度……几乎你能想到的我们都查了,所有常规数据都完美,可这台机器就是在TI64准时“罢工”。那种无力感,至今想来都让人窒息。
致命误区:我也曾坚信“越厚越严”,直到被真相点醒
那段时间,我和所有人一样,陷入了一个致命的认知误区。由于前几任的给我们的所谓的经验和秘籍的误导,加上供应商来的方形密封令本来就比槽的尺寸要大,每次都要稍微用力才能进去,我一直想当然地认为:密封,不就是填得越满、压得越紧、堵得越死越好吗。
所以,我们疯狂地在O型圈上叠加生料带,试图用厚度来解决泄漏。但后来我才明白,这根本不是维修,而是一场极致的豪赌。
这种“土办法”的容错率低到令人发指:
生料带多了一丝:O型圈直接卡死在密封槽里,根本弹不出去,密封面贴合不上,必漏无疑;
生料带少了一丝:密封槽堵不严,工作水上下乱窜,无法建立起足够的向外顶紧的水压,还是漏;
只有那“刚刚好”的厚度:才能勉强堵住上下水路,单纯靠向外的水压硬顶,维持一时的密封。
我们就像在走钢丝,日复一日地拆装,就是为了赌那“刚刚好”的运气。这种靠运气续命的无奈,直到我在深夜翻遍技术资料,才被一句话彻底击碎:“S型分油机的密封令,核心是靠水压驱动,实现向上、向外的双向密封,而非单纯的物理填塞。”
那一刻,我如遭雷击。我们不仅方向错了,连最基本的密封逻辑都理解反了。
雪上加霜:厂商“没问题”的结论,将我们推入绝境
在认知崩塌后,我们抱着最后一丝希望,将密封令的尺寸数据上报公司,请求联系厂商确认。
我们原以为能得到专业的指正,可公司反馈回来的厂商回复,却像一盆冰水:“该密封令在厂家经过严格实验,尺寸完全符合标准,绝对没有问题。”这个“权威结论”,让我们刚刚找到的一丝线索再次中断。
如果密封令“没问题”,那为什么严格按照原理操作,依然在TI64跑油?为什么电流会飙升?为什么出口无压力?
我们开始自我怀疑:是分离筒本体变形了?是控制系统时序错乱了?还是我们的操作有问题?到最后我们甚至都想玄学了,想好好拜一拜它,哪怕磕几个头也行,只要它能好。
在那段暗无天日的日子里,我们在滚烫的分油机间里对着那台分油机发呆,感觉自己像是被全世界抛弃了。
在这里顺便讲一下s型分油机的工作原理,因为好多人都是一知半解,特别新人,希望能帮助更多人完全理解分油机的工作原理。
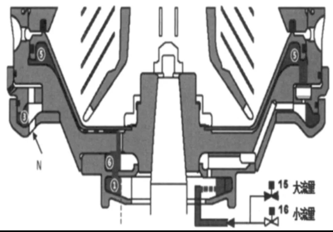
原理:SA851型分油机工作过程示意图

工作过程:
SA851型分油机每次启动分油机后,在转速、油温、油压等参数满足预定范围后,分油机都将进行一次排渣操作,主要是为了清除上次因失电等非正常停机而残留在分离筒内油渣。
同时,还可以为后面的关闭动作提供必要的工作水。实际就是电磁阀V15打开5秒,说明书上描述为:排渣,具体就是启动时,分离筒关闭前操作水系统需要额外的水来支持“operating slide”,然而这不是一次真正的排渣,因此分离筒是空的。必须要有此步骤,否则后续的水流量校验或者燃油净化程序无法进行。
滑动环是一个中间有孔上平面带堵头的滑动机构,共有三个,下部与定量环组成关闭室③,上部与本体组成开启室④,两个水封室外侧都装有矩形密封圈,防止漏泄。大家可以参考下面图片和我在船上实拍的图,特别位置我都给标注了,会一目了然,便于快速明白工作原理,因为我发现,对于分油机的原理,特别是水路走向,很多人都是一知半解,而水路却恰恰是分油机最关键的一步。
1. 建立初始状态




如上图右半侧所示,时间参数 Ti60 内,电磁阀 SV15 通电 5s 供水,流量大时间短,工作水通过配水盘通道①、②到达关闭室③,再经滑动圈中间孔到达开启室④;少部分水通过配水盘通道⑥进入到工作室⑤。
如上图左半侧所示,时间参数 Ti61 为泄水时间,在离心力作用下,关闭室③内虚线内侧的水经孔 N 排空。
开启室④虽有喷嘴 P 泄水,但进水量大来不及很快泄完,因滑动圈上面面积大于下面面积,上、下面产生水压差,将滑动圈压下,打开泄水孔道 M,排空工作室⑤里的水。

如上图所示,开启室④内的水最终也经喷嘴 P 排空,而关闭室③虚线外侧还保留一部分水;在此水静压力作用下,滑动圈上移,关闭泄放孔 M,排渣盘处于自由状态。
此时,控制系统为开始分油建立起了一个初始状态。
2. 分油

如上图所示,时间参数 Ti62 内,电磁阀 SV16 通电 15s,供水。
因流量小,在离心力作用下,配水盘内形成的水环带内移到图中虚线处,工作水经配水盘通道⑥到达工作室⑤,在高速旋转离心力作用下形成很大静压力,使柔性排渣盘周边变形上移,关闭排渣口,完成关闭动作。
此阶段,即使有少量水通过①、②进入到封闭室③,也通过孔 N及时排放掉。
进入正常分油阶段后,SV16阀每15分钟开启1秒,补偿因蒸发或泄漏掉的工作室⑤内的水,防止分离筒异常开启排渣。
3. 排渣

如上图所示,分油机在经过一段时间的分油后,进行排渣操作。
Ti74 时间内,电磁阀SV15通电3s开启供水。
因水量大,配水盘内水环带外移,工作水通过配水盘通道①、②到达关闭室③,再经滑动圈中间孔到达开启室④。
时间参数 Ti75 为泄水时间,大量的水进入开启室④,喷嘴 P 来不及泄放,滑动圈上表面在一定时间内保持着有水状态,而关闭室③虚线内侧的水经孔 N 排空,滑动圈上表面面积大于下表面面积,上、下面建立起足够的水压差,将滑动圈压下,打开泄水孔道 M,排空工作室⑤的水。
柔性排渣盘因失去工作室水压,在自身弹性和离心力的作用下复位下移,打开排渣口,排空分离筒内杂质。
等到开启室④内的水经喷嘴P排空后,在关闭室③虚线外侧水静压力作用下,滑动圈上移,关闭泄水孔 M,为下一个工作循环做好准备。
终极破局:抛开“权威”,磨出来的真相
当我彻底吃透原理,抛开那个“厂家没问题”的紧箍咒后,真相终于浮出水面。
S型分油机的密封,靠的是工作水进入密封槽,推动方型密封圈同时向上贴合本体、向外贴合底盘。这是一个动态的、双向的密封过程。

而我们的病根,恰恰就在这个被厂家认证为“没问题”的密封令上——它在实船工况下,尺寸偏大了!
正是这微小的尺寸误差,导致了连锁反应:
1. 密封令卡滞:无法在槽内自由活动,水压推不动,双向密封变成了空谈;
2. 被迫赌运气:前任们用生料带,其实是在暴力修正尺寸,试图用“填塞”代替“驱动”;
3. TI64失效:进油瞬间,密封令无法到位,燃油直接外泄,导致电流飙升、出口无压。
厂家的实验室环境,永远模拟不了船舶长年的震动、磨损和装配公差。
认清这一点后,我们不再依赖运气,而是拿起了砂纸和卡尺。我们对密封令进行了一场精细到0.05毫米的“手术”。
磨一点,量一次;装上去,试一次。失败,拆解,再磨……这个过程重复了六次。
直到第七次装配完成,我们屏住呼吸,看着程序走到:TI64!
燃油平稳进入,电机电流稳稳地落在正常区间,出口油压缓缓上升。
没有跑油!没有泄漏!
那一刻,分油机间没有欢呼,只有一种如释重负的沉默。我们终于,用原理终结了这场长达一年的“赌博”。
复盘:轮机维修,靠的不是运气,是对原理的敬畏。
这台SA851,给我上了职业生涯最重要的一课:
1. 经验主义害死人:S型与P型天差地别,用P型的“堵”去修S型的“驱”,从一开始就错了;
2. 密封不是越厚越好:精准的尺寸配合,远胜于粗暴的填塞。生料带赌来的安稳,终究抵不过原理的力量;
3. 尽信书不如无书:厂家的结论仅供参考,实船的工况才是唯一的标准。
如今,这台分油机每次TI64进油时的稳定,都像是在提醒我那段艰难的岁月。
谨以此文,献给所有在大洋深处,与钢铁为伴,不迷信权威、不放弃思考的轮机人。
再难的故障,都有答案;
再小的零件,都藏着大道。
愿我们每一次出海,都平安顺利!
作者: 大管轮 李欢
指导老轨: 纪文言